Checking the Drive Axle Alignment
P4 MM 33.04, 5th Generation Cascadia MM
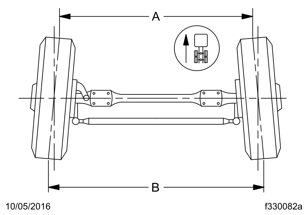
Check the axle alignment, parallelism, and thrust angle measurements for the rear drive axles. Use the applicable procedure and specifications in General Information, Alignment of the Rear Axle in the New Cascadia™ Workshop Manual.
Toe-In Inspection
For vehicle alignment to be accurate, the shop floor must be level in every direction. The turn plates for the front wheels must rotate freely without friction, and the alignment equipment must be calibrated every three months by a qualified technician from the equipment manufacturer. Freightliner dealers must have proof of this calibration history.
- Apply the parking brakes and chock the rear tires.
- Raise the front of the vehicle until the tires clear the ground. Place safety stands under the axle.
- Using spray paint or a piece of chalk, mark the entire center rib of each front tire.
- Place a scribe or pointed instrument against the marked center rib of each tire, and turn the tires. The scribe must be held firmly in place so that a single straight line is scribed all the way around each front tire.
- Place a turn-plate or turntable under both front tires. Remove the safety stands and lower the vehicle. Remove the lock-pins from the gauges; make sure the tires are exactly straight ahead.
- Place a trammel bar at the rear of the front tires; locate the trammel pointers at spindle height, and adjust the pointers to line up with the scribe lines on the center ribs of the front tires. See Fig. . Lock in place. Check that the scale is set on zero.
- Place the trammel bar at the front of the tires (see Fig. ) and adjust the scale end so that the pointers line up with the scribe lines. See Fig. .
- Read the toe-in from the scale, and compare it to the toe-in specification in General Information, Alignment of the Front Axle in the New Cascadia™ Workshop Manual. If corrections are needed, refer to General Information, Alignment of the Front Axle in the New Cascadia™ Workshop Manual for instructions on adjusting the toe-in.
Note: If turn-plates or turntables are not available,
lower the vehicle. Remove the chocks from the rear tires and release
the parking brakes. Move the vehicle backward, then forward about
six feet (two meters).
Note:


